氣體滅火知識
消防維保
主機(jī)維修
聯(lián)系我們
- 聯(lián)系人:郭經(jīng)理
- 傳真:010-69552656
- 電話:400-0346-119
- 電話:010-57491119
- 郵箱:506665119@qq.com
- 地址:北京通州區(qū)M5運河1號3號樓403室
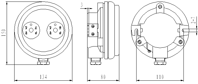
金鼎JDJQ-1防爆緊急啟動/停動按鈕結(jié)構(gòu)特征:
來源:消防維保 時間:2018-10-15 11:02:59
1、防爆緊急啟動/停動按鈕外形實體圖如圖1所示:
2、JDJQ-1防爆緊急啟動/停動按鈕外形結(jié)構(gòu)示意圖





